特許情報をチェックしていたら面白いネタを見つけた。マツダの出願した特許なのだが、なんとラジエターの冷却水をクルマの屋根に流すというのだ! いったいなんで? どんなメリットがあんのよ??
文:ベストカーWeb編集部/写真:J-PlatPat、マツダ
冷却水って普通ラジエターで冷やすでしょ!
マツダが出した特許だが、2023年8月に出願され、2025年2月21日に公知されている。発明の名称は「車両」というそっけないものだが、中身を読むとノケゾルような内容だった。
逐一説明すると長大になるので要約するが、着目したのは内燃機関車における冷却だ。
いうまでもなく、クルマのエンジンは内部に冷却水を通して温度管理を行っているわけだが、この冷却水自体、冷たすぎても熱すぎてもエンジンの効率や排ガス浄化性能を落とす原因になる。通常のクルマで温度管理を担うのが、ラジエターやサーモスタットだ。
マツダはその効率をもっと高めようと考えた。そこでクルマの中で大きな面積を占め、陽光や外気に触れている「屋根」に注目したのだ。
陽光や走行風で冷却水の温度をコントロール!
たとえばエンジンの始動直後。この時はできるだけ早くエンジンを暖めたいわけだが、もし車両が暑い場所や炎天下にあるなら、その熱で温まったルーフの冷却水を循環させれば暖気を促進させることができる。
いっぽう走行中。高速道路などを走っているクルマの屋根は空気の流れを受けるわけだが、この時ルーフ内を流れる冷却水温度がエンジン内の冷却水より冷たければ、これを使って冷却ができるわけだ。
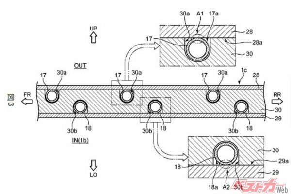
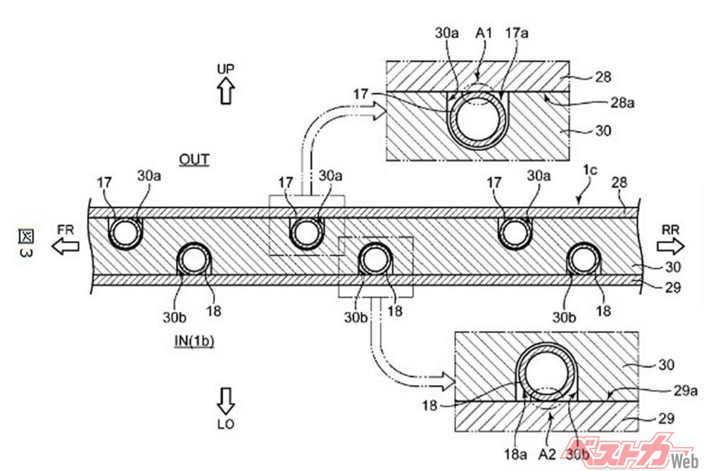
他にもルーフを流れる冷却水は車内を暖めたりすることにも使える。そのためにマツダは大いなる工夫をした。ルーフ内を流れる冷却水の経路を、車外側(ルーフ面側)と室内側で断熱板を挟んで2重化したのだ。こうすれば熱利用の自由度が高まり、車内が冷却水の影響で暑くなったり寒くなったりする悪影響も抑えられるというわけだ。
ちなみに、これらの冷却水の周囲には吸湿剤が充填されており、万一ルーフがダメージを負ったときなども、熱い冷却水が車内に流れ込まない工夫が織り込まれているらしい。
特許図面のクルマはCX-5?
読者の皆さんはこの特許をどう考えるだろうか。ルーフまで冷却水を流すとなるとより多くの冷却水が必要になるだろうし、ウォーターポンプの数やセンサー類の制御が煩雑になりそうな気もする。ルーフが重くならないかとか、ガラスルーフとの兼ね合いはどうするのかといった疑問も起きる。
とはいえそこは天下のマツダのこと。なんらかのブレークスルーを考えたうえで特許を出願したのだと考えたい。
ちなみに特許に添えられた説明図面には、横置き4気筒エンジンを積むハッチバックとおぼしきクルマが描かれている。今年登場するといわれる次期CX-5ではないかとも勘ぐってしまうのだが、はたしてどうだろうか。
ともかくともかく、内燃機関にまだまだ知恵を絞るマツダの情熱には本当に感動する。ぜひとも世界をアッといわせるクルマを生み出してほしい!




















コメント
コメントの使い方内燃機関は無くなる っていく方向 いいのかな
マツダの開発には特許のノルマってのが未だ残っているからな。普通に考えたら、ボディ剛性や整備性、重心が高くなる事による操縦安定性等々問題だらけ。マズ真似するメーカーは無いのに金払う。マツダとはそう言う会社
北国だと屋根の雪や氷が溶けたり、夏の冷却効率を考えるといいなぁと思う反面
整備的に考えたときに万が一水漏れなんかしたら交換の手間(工賃)がかかるし、中から変えると室内酷いことになりそうだし、屋根から交換なんて容易じゃないので廃車?って考えてしまう。
冬のEVの航続距離を伸ばすため、バッテリー温度を保ったり、内燃機関の暖気を早めたり、室内温度と湿度を保ったりと可能性はいろいろある。世界的に寒暖のさが大きくなっているので、エアコン革命は必要だろう。
うちのソウルレッドたち、度々洗車しますが、1,2月を除く年10ヶ月は、ルーフ熱々です。
素人考えだと、そんな所に冷却水って効率的なのかな?と。重心も高くなりそう。
これが予想に反して、後追いが次々出るほど画期的なアイデアだったらいいな